Product Summary
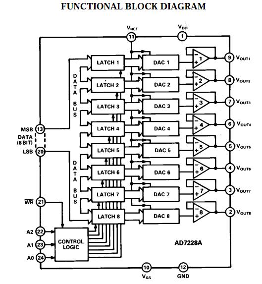
The AD7228LN is an Octal 8-Bit DAC. The AD7228LN contains eight 8-bit voltage-mode digital-to- analog converters, with output buffer amplifiers and interface logic on a single monolithic chip. No external trims are required to achieve full specified performance for the part.
Parametrics
AD7228LN absolute maximum ratings: (1)VDD to GND: –0.3 V, +17 V; (2)VDD to VSS: –0.3 V, +24 V; (3)Digital Input Voltage to GND: –0.3 V, VDD; (4)VREF to GND: –0.3V, VDD; (5)VOUT to GND2: VSS, VDD; (6)Power Dissipation (Any Package) to +75℃: 1000 mW; (7)Derates above 75℃ by: 2.0 mW/℃; (8)Operating Temperature, Commercial: –40℃ to +85℃; Industrial: –40℃ to +85℃; Extended:–55℃ to +125℃; (9)Storage Temperature: –65℃ to +150℃; (10)Lead Temperature (Soldering, 10 secs): +300℃.
Features
AD7228LN features: (1)Eight 8-Bit DACs with Output Amplifiers; (2)Operates with Single +5 V, +12 V or +15 V or Dual Supplies; (3)μP Compatible (95 ns WR Pulse); (4)No User Trims Required; (5)Skinny 24-Pin DlPs, SOIC, and 28-Terminal Surface Mount Packages.
Diagrams

| Image | Part No | Mfg | Description | ![]() |
Pricing (USD) |
Quantity | ||||||||||||||
|---|---|---|---|---|---|---|---|---|---|---|---|---|---|---|---|---|---|---|---|---|
![]() |
![]() AD7228LN |
![]() |
![]() IC DAC 8BIT OCTAL W/AMP 24-DIP |
![]() Data Sheet |
![]() Negotiable |
|
||||||||||||||
![]() |
![]() AD7228LNZ |
![]() |
![]() IC DAC 8BIT OCTAL W/AMP 24-DIP |
![]() Data Sheet |
![]()
|
|
||||||||||||||
(China (Mainland))









