Product Summary
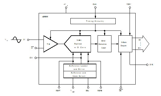
The ADS805U is a 20MHz, high dynamic range, 12-bit pipelined analog-to-digital converter. This converter includes a high-band-width track/hold that gives excellent spurious performance up toand beyond the Nyquist rate. This high-bandwidth, linear track/holdminimizes harmonics and has low jitter, leading to excellent SNR performance. Applications include studio cameras, if and baseband digitization, copiers and test instrumentation.
Parametrics
ADS805U absolute maximum ratings: (1)+VS: +6V; (2)Analog Input: (–0.3V) to (+VS +0.3V); (3)Logic Input: (–0.3V) to (+VS +0.3V); (4)Case Temperature: +100℃; (5)Junction Temperature: +150℃; (6)Storage Temperature: +150℃.
Features
ADS805U features: (1)High SFDR: 74dB at 9.8MHz fIN; (2)High SNR: 68dB; (3)Low power: 300mW; (4)Low DLE: 0.25LSB; (5)Small 28-Lead SSOP and SOIC packages.
Diagrams

| Image | Part No | Mfg | Description | ![]() |
Pricing (USD) |
Quantity | ||||
|---|---|---|---|---|---|---|---|---|---|---|
![]() |
![]() ADS805U |
![]() Texas Instruments |
![]() IC 12-BIT 20MHZ A/D 28-SOIC |
![]() Data Sheet |
![]() Negotiable |
|
||||
![]() |
![]() ADS805U/1K |
![]() Texas Instruments |
![]() IC 12BIT 20MHZ HI SNR A/D 28SOIC |
![]() Data Sheet |
![]() Negotiable |
|
||||
(China (Mainland))









