Product Summary
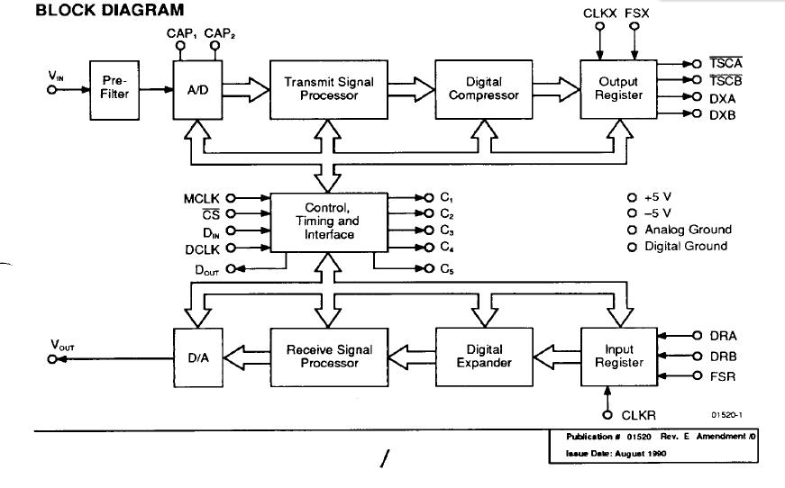
The subscriber line audio-processing circuit AM7901BDC performs the codec and filtering functions necessary in digital voice switching machines. In this application, the AM7901BDC processes voiceband analog signals into pulse-code modulated outputs and processes PCM inputs into analog outputs. The AM7901BDC consists of three main sections: transmit processor, receive processor, and control logic.
Parametrics
AM7901BDC storage temperature range: (1)storage temperature:- 60 to 125℃; (2)ambient temperature under bias:0 to 70℃; (3)VCC with respect to DGND:-0.4V to 6.0V; (4)VBB with respect to DGND:0.4V to -6.0V; (5)VIN with respect to AGND:VBB to VCC.
Features
AM7901BDC features: (1)combination codec and filter; (2)no trimming or adjustments required; (3)uses digital siganl processing; (4)six user-programmable digital filters; (5)dynamic time slot assignment; (6)only two external components; (7)dual PCM ports; (8)built-in test modes; (9)microprocessor-compatible serial interface; (10)control interface to SLIC; (11)low standby power.
Diagrams

![]() |
![]() Am79213 |
![]() Other |
![]() |
![]() Data Sheet |
![]() Negotiable |
|
||||
![]() |
![]() Am79231 |
![]() Other |
![]() |
![]() Data Sheet |
![]() Negotiable |
|
||||
![]() |
![]() Am79514 |
![]() Other |
![]() |
![]() Data Sheet |
![]() Negotiable |
|
||||
![]() |
![]() Am79533I |
![]() Other |
![]() |
![]() Data Sheet |
![]() Negotiable |
|
||||
![]() |
![]() Am79534 |
![]() Other |
![]() |
![]() Data Sheet |
![]() Negotiable |
|
||||
![]() |
![]() Am79535 |
![]() Other |
![]() |
![]() Data Sheet |
![]() Negotiable |
|
||||
(China (Mainland))








