Product Summary
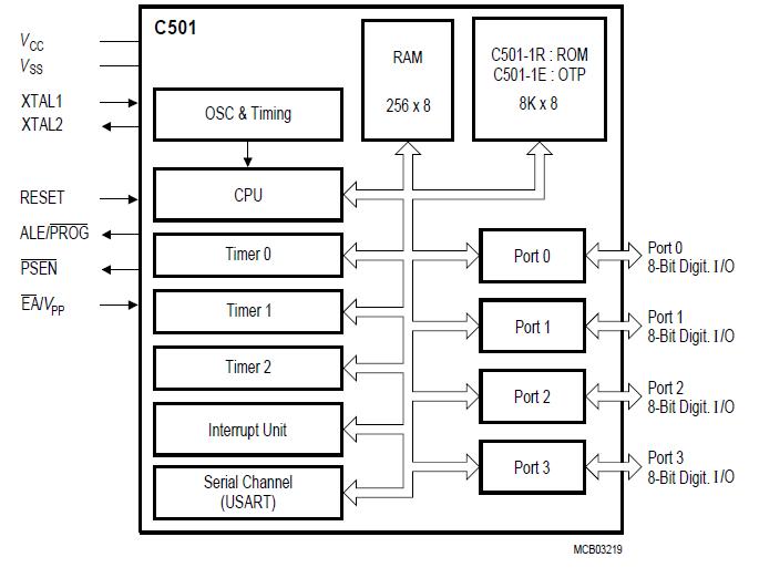
The SAB-C501G-1RN is an 8-Bit CMOS Microcontroller. It contains a non-volatile 8K*8 read-only program memory, a volatile 256*8 read/write data memory, four ports, three 16-bit timers counters, a seven source, two priority level interrupt structure and a serial port. The SAB-C501G-1RN is identical, except that it lacks the program memory on chip. The SAB-C501G-1RN contains a one-time programmable (OTP) program memory on chip. The term C501 refers to all versions within this specification unless otherwise noted.
Parametrics
SAB-C501G-1RN absolute maximum ratings: (1)Ambient temperature under bias (TA):– 40 to 85 ℃; (2)Storage temperature (Tstg):– 65 ℃ to 150 ℃; (3)Voltage on VCC pins with respect to ground (VSS):– 0.5 V to 6.5 V; (4)Voltage on any pin with respect to ground (VSS):– 0.5 V to VCC +0.5 V; (5)Input current on any pin during overload condition:– 10 mA to 10 mA; (6)Absolute sum of all input currents during overload condition:100 mA; (7)Power dissipation:TBD.
Features
SAB-C501G-1RN features: (1)Fully compatible to standard 8051 microcontroller; (2)Versions for 12/24/40 MHz operating frequency; (3)Program memory :8K*8 ROM; (4)256*8 RAM; (5)Four 8-bit ports; (6)Three 16-bit timers / counters (timer 2 with up/down counter feature); (7)USART; (8)Six interrupt sources, two priority levels; (9)Power saving modes; (10)P-DIP-40, P-LCC-44, and P-MQFP-44 package.
Diagrams

| Image | Part No | Mfg | Description | ![]() |
Pricing (USD) |
Quantity | ||||||||||
|---|---|---|---|---|---|---|---|---|---|---|---|---|---|---|---|---|
![]() |
![]() SAB-C501G-1RN |
![]() Other |
![]() |
![]() Data Sheet |
![]() Negotiable |
|
||||||||||
| Image | Part No | Mfg | Description | ![]() |
Pricing (USD) |
Quantity | ||||||||||
![]() |
![]() SAB-C161CS-LF CA |
![]() Infineon Technologies |
![]() 16-bit Microcontrollers (MCU) 16BIT ROM/ROMLESS |
![]() Data Sheet |
![]()
|
|
||||||||||
![]() |
![]() SAB-C161JC-LF CA |
![]() Infineon Technologies |
![]() 16-bit Microcontrollers (MCU) 16BIT ROM/ROMLESS |
![]() Data Sheet |
![]() Negotiable |
|
||||||||||
![]() |
![]() SAB-C161JI-LF CA |
![]() Infineon Technologies |
![]() 16-bit Microcontrollers (MCU) 16BIT ROM/ROMLESS |
![]() Data Sheet |
![]() Negotiable |
|
||||||||||
![]() |
![]() SAB-C161K-LM HA |
![]() Infineon Technologies |
![]() 16-bit Microcontrollers (MCU) 16-Bit SNGL-Chip 5V 20MHz ROM less |
![]() Data Sheet |
![]()
|
|
||||||||||
![]() |
![]() SAB-C161O-L25M HA |
![]() Infineon Technologies |
![]() 16-bit Microcontrollers (MCU) 16-Bit SNGL-Chip Microcontroller |
![]() Data Sheet |
![]()
|
|
||||||||||
![]() |
![]() SAB-C161O-LM 3V HA |
![]() Infineon Technologies |
![]() 16-bit Microcontrollers (MCU) 16-Bit SNGL-Chip 3.3V 20MHz ROM less |
![]() Data Sheet |
![]()
|
|
||||||||||
(China (Mainland))










